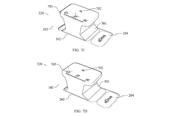
主頁外地新聞 BMW 新波棍專利曝光! 17/12/2021 FacebookWhatsAppLinkedinLINEXEmailCopy URL打印 BMW 申請最新波棍設計專利,根據資料,波棍形狀變成了變形,而且會上下升降,螢幕表面為數位顯示,能夠切換停車模式與駕駛模式,分別可操控檔位、電子煞車及啟動引擎功能;這項新專利能夠在選定停車檔位後,系統會自動判斷是否需要啟動手煞或關閉引擎等。不過從專利圖看來,似乎有幾樣設計樣式選擇,暫時未知究竟最終成品會是如何。但《Carbuzz》就率先繪製了預想圖,各位車迷可以參考一下。傳聞指,這項新專利最快會備在全新 i5 電動車身上。 文:Issac.C TagBMW 寶馬外地新聞新聞中心汽車資訊 分享 FacebookWhatsAppLinkedinLINEXEmailCopy URL打印 前一篇文章Honda 新一代 StepWGN 明年 1 月現身下一篇文章Polestar 3 釋出預告照片 相關內容 豐田利潤面臨兆級巨額衝擊?中東戰火與美關稅夾擊下的王者試煉 Max Verstappen 出戰 Super GT 備戰紐柏林24小時耐力賽 經典神車再度進化!藤原拓海 AE86 無線滑鼠熱血橫掃辦公室 BYD Sealion 6 DM-i 混能不拍續航力 Volkswagen Golf GTI EDITION 50 以 7 分 44 秒 523... LEXUS 發表全新 TZ 三排座 SUV!將成日系 BEV 巔峰之作? 最新內容 外地新聞 豐田利潤面臨兆級巨額衝擊?中東戰火與美關稅夾擊下的王者試煉 外地新聞 Max Verstappen 出戰 Super GT 備戰紐柏林24小時耐力賽 外地新聞 經典神車再度進化!藤原拓海 AE86 無線滑鼠熱血橫掃辦公室 裝載更多